Appunti per Scuola e Università
humanisticheUmanistiche
Appunti e tesine di tutte le materie per gli studenti delle scuole medie riguardanti le materie umanistiche: dall'italiano alla storia riguardanti le materie umanistiche: dall'italiano alla storia 
sceintificheScientifiche
Appunti, analisi, compresione per le scuole medie suddivisi per materie scientifiche, per ognuna troverai appunti, dispense, esercitazioni, tesi e riassunti in download.
tecnicheTecniche
Gli appunti, le tesine e riassunti di tecnica amministrativa, ingegneria tecnico, costruzione. Tutti gli appunti di AppuntiMania.com gratis!
Appunti
superiori
Abbigliamento modaAnimali UccelliArte culturaBellezzaBiologia
CommercioFilm fotoGeografiaGiornalismo stampaLogica
NutrizionePittura disegnoPoesiaPsicologia psichiatriaVigneto


AppuntiMania.com » Superiori » Appunti di Geografia » Tesi di maturita - Vivere con il terremoto, nel passato e ai giorni nostri

Tesi di maturita - Vivere con il terremoto, nel passato e ai giorni nostri




Visite: 4207Gradito:apreciate stela [ Medio appunti ]
Leggi anche appunti:

Comparsa della propulsione meccanica


Comparsa della propulsione meccanica Nella storia dell'uomo, l'avvento delle macchine

Norvegia


Norvegia (norvegese Norge) Regno (Kongeriket Norge) dell'Europa settentrionale.

L'Argentina


L'Argentina è uno stato dell'America meridionale, delimitato a nord dalla Bolivia
immagine di categoria

Scarica gratis Tesi di maturita - Vivere con il terremoto, nel passato e ai giorni nostri

Liceo Scientifico Donato Bramante, Magenta



Vivere con il terremoto, nel passato e ai giorni nostri



















Introduzione


Il termine terremoto (dal latino terrae motus "movimento della terra") ha spesso evocato immagini di rovine, sofferenze, paure; ma queste sono immagini emotive che offrono solo una descrizione parziale del fenomeno: è difficile se non addirittura impossibile riuscire a spiegare nei minimi dettagli avvenimenti, come quelli avvenuti in Abruzzo all'inizio di Aprile, che lasciano ferite profonde nel cuore di ognuno. Questi eventi ci spingono a cercare le cause principali all'origine dei terremoti che colpiscono molte zone del mondo, tra cui anche l'Italia, al fine di elaborare modelli o previsioni su basi statistiche o deterministiche .

Il lavoro si propone di trattare l'argomento in senso cronologico: prende inizio dall'antichità con Seneca che nelle "Naturales Questiones" dà una spiegazione di carattere per così dire "scientifico" del fenomeno. In seguito prosegue con un'interpretazione poetica del terremoto di Napoli del 1688 da parte di Giacomo Antonio Lubrano e con il ricordo, attraverso due poesie, del terribile terremoto di Messina (1908): "Al padre" di Salvatore Quasimodo, in cui il poeta, rendendo omaggio al genitore, tratta della terribile tragedia che colpì la terra siciliana; "Messina" di Umberto Saba, un sonetto che, anche se pubblicato nel 1909, era poi sfuggito alla critica, così da non essere mai più pubblicato fino a quest'anno.

Dopo questa prima parte letteraria, l'attenzione si sposta sull'aspetto scientifico del terremoto. Prima i terremoti sono spiegati scientificamente, cominciando dalle prime teorie di Reid per arrivare alle conoscenze attuali.

Il lavoro, infine, si chiude con l'analisi e lo studio del fenomeno con tecniche moderne, ovvero mediante l'uso di sismografi elettromagnetici.

Per l'approfondimento di tali argomenti ho eseguito ricerche su diversi testi scolastici e su alcuni siti Internet, dove sono riuscito a reperire le due poesie sul terremoto di Messina; inoltre per quanto concerne la parte relativa al sismografo elettromagnetico, ho fatto affidamento sul materiale fornitomi gentilmente da Prof.ssa Tina Nunziata (Professoressa di Geofisica - Dipartimento Geofisica e Vulcanologia - Università Federico II di Napoli Prof. Alfredo Mazzotti (Professore di Geofisica Applicata - Dipartimento di Scienze della Terra - Università di Pisa) e Dott. Giovanni Costa (Ricercatore confermato - Docente di sismometria -Dipartimento Scienza della Terra - Università di Trieste).

Il lavoro ha il fine di mostrare le differenze tra il passato ed il presente: appunto comprendere i grandi cambiamenti nella concezione di questo fenomeno che oggi sappiamo non essere un evento eccezionale, bensì ricorrente che si presenta con una sua ciclicità, sempre attivo nel tempo: il terremoto è normalità, una normalità che spesso ci coglie di sorpresa e, purtroppo, impreparati.


























Lucius Annaeus Seneca

Gli effetti dei terremoti

dalle Naturales Questiones - Liber VI - 1


Pompeios, celebrem Campaniae urbem, consedisse terrae motu, vexatis quae adiacebant regionibus, audivimus, et quidem hibernis diebus, quos vacare a tali periculo maiores nostri solebant promittere. Nonis Februariis hic fuit motus, Regulo et Verginio consulibus, qui Campaniam, numquam securam huius mali, magna strage vastavit. Quaerenda sunt trepidis solacia et demendus ingens timor. Quid enim satis tutum videri potest homini, si mundus ipse concutitur et partes eius solidissimae labant? Consternatio omnium est, ubi tecta crepuerunt et ruina signum dedit. Tunc praeceps quisque se proripit et penates suos deserit. Quam latebram prospicimus, quod auxilium, si orbis ipse ruinas agitat, si hoc quod nos tuetur ac sustinet, supra quod urbes sitae sunt, discedit ac titubat? A tempestate nos vindicat portus; nimborum vim effusam et sine fine cadentes aquas tecta propellunt; fugientes non sequitur incendium; in pestilentia mutare sedes licet: nullum malum sine effugio est.

Hoc malum latissime patet inevitabile,

Abbiamo sentito dire che Pompei, celebre città della Campania, è sprofondata per un terremoto, distrutte tutte le zone che si trovavano intorno, e in verità in quei giorni invernali, che i nostri antenati solevano promettere essere liberi da tale pericolo. Alle None di febbraio, durante il consolato di Regolo e di Virginio, si verificò questo terremoto che devastò con enorme strage la Campania, mai sicura da questo male. Si devono trovare conforti per gli (abitanti) timorosi/impauriti e si deve togliere/rimuovere il grande timore. Che cosa, infatti, può sembrare abbastanza sicuro per un uomo, se il mondo si scuote da sé e le sue parti solidissime vacillano? Vi è la costernazione di tutti, quando le case sono andate in pezzi e la rovina ha dato il segnale. Allora ognuno si precipita a capofitto e abbandona i suoi penati (la sua casa). Quale rifugio ci procuriamo, quale aiuto se il mondo stesso crea rovine, se ciò che ci difende e sostiene, sopra cui sono state poste le città, si divide e vacilla/barcolla? Il porto ci libera (pone in salvo) dalla tempesta; i tetti delle case respingono la violenza scatenata dei nembi e le piogge che cadono senza fine; l'incendio non insegue chi fugge; durante la pestilenza si può cambiare sede (luogo in cui si abita): nessun male è senza rifugio. Questo male si estende per un vastissimo spazio, inevitabile, avido, dannoso per

avidum, publice noxium; non enim domos solum aut familias aut urbes singulas haurit, gentes totas regionesque submergit et modo ruinis operit, modo in altam voraginem condit.

tutti senza distinzione; infatti, inghiotte non solo case o famiglie o singole città, sommerge interi popoli e regioni intere, e ora le copre (seppellisce) di rovine, ora le nasconde in una profonda voragine.

Commento

In questo passo tratto dalle Naturales Questiones, Seneca descrive un terremoto che devastò la Campania ed in particolare la zona del Golfo di Napoli, da Ercolano a Sorrento.

L'autore sottolinea la sismicità della zona colpita dall'evento e ciò gli abitanti di questa regione l'hanno potuto constatare anche qualche decennio fa con lo spaventoso terremoto del 23 novembre del 1980 e la successiva replica del 14 febbraio 1981: anche questi avvenuti nei giorni invernali.

Emerge con forza l'attualità dell'evento sismico: recentemente, in seguito al sisma che si è verificato in Abruzzo le televisioni ci hanno mostrato tante immagini di persone impaurite e timorose che venivano confortate dai soccorritori. Ciò che sembrava sicuro a questa popolazione di colpo è svanito; le persone, gli animali e le cose che facevano parte della loro vita sono state travolte da questa forza della natura. La "costernatio", che evidenzia il filosofo nella sua opera, la ritroviamo identica dopo duemila anni: le persone sono sorprese dall'evento e appaiono smarrite e alla ricerca di aiuto per superare una situazione di grande difficoltà.

Un altro aspetto che viene sottolineato nel brano l'enorme devastazione che il terremoto provoca e la dannosità per tutti senza distinzione: il sisma colpisce sempre vaste zone seminando lutto e dolore in tutta la popolazione. Tuttavia la reazione della gente colpita, dopo lo smarrimento iniziale, è di grande laboriosità per ricostruire, anche grazie alla solidarietà, quanto distrutto dalla furia distruttrice.

I tipi di terremoti

dalle Naturales Questiones - Liber VI - 21

Nelle Naturales Questiones nel libro VI - 21 Seneca dà una spiegazione delle diverse tipologie di terremoti conosciute. Egli parla di due tipi: l'uno sussultorio ("succussio") e l'altro ondulatorio ("inclinatio"); inoltre ipotizza un terzo tipo che chiama "tremito della terra" ("tremorem terrae"). Di queste tipologie illustra le cause e ritiene la scossa ondulatoria quella più dannosa.


"Secondo Posidonio, ci sono due tipi di terremoto. Ciascuno ha un suo nome specifico: uno è il moto sussultorio, quando la terra è scossa e si muove dal basso verso l'alto e viceversa, l'altro è il moto ondulatorio, in cui la terra oscilla alternativamente da un lato e dall'altro, come un'imbarcazione. Io, però, credo che ci sia anche un terzo tipo, che è stato designato con una parola latina: infatti, non senza ragione i nostri antenati hanno parlato di un «tremore» della terra, che è diverso dagli altri due, poiché le cose non ricevono una scossa verticale, né oscillano lateralmente, ma vibrano, che in casi di questo genere è il movimento più inoffensivo; così come l'oscillazione è molto più perniciosa della scossa sussultoria: infatti, se non arriva rapidamente dalla parte opposta un moto che rimetta diritte le cose che stanno per cadere, ne consegue inevitabilmente un crollo."







Giacomo Antonio Lubrano

Terremoto orribile accaduto in Napoli nel 1688


Mortalità, che sogni? ove ti ascondi

se puoi perire a un alito di fato?
Dei miracoli tuoi il fasto andato
or né men scopre inceneriti i fondi1.


Sozzo vapor da baratri profondi
basta ad urtar con precipizio alato
alpi di bronzo; e in polveroso fiato
distrugge tutto il Tutto a regni, a mondi.


Di ciechi spirti un'invisibil guerra
ne assedia sempre2, e cova un vacuo ignoto
a subitanee mine in ogni terra3.


A' troni ancora, a' templi è base il loto4:
su le tombe si vive; e spesso atterra
le nostre eternità breve tremoto.

Note:

Ciò che l'uomo ha realizzato è ridotto in cenere

Una guerra invisibil di spirti ciechi ne (=ci) assedia sempre

Vacuo (vuoto) ignoto; mine da minae, arum; l'uomo è sempre assediato da forze oscure e minacciose

Il loto è il fango; cfr. Preludio di E. Praga (O Nemico lettor, canto .. e il tuo loto!)

Analisi del testo

Il poeta si rivolge agli uomini con il sostantivo astratto "mortalità", che pone l'accento sulla fragilità degli esseri umani: essi si credono forti e potenti, pensano che le loro costruzioni siano destinate a durare per l'eternità ("alpi di bronzo")e invece possono essere atterrati da un "breve tremoto", un sozzo vapor che esce dalla profondità della terra.

Saba e il terremoto di Messina


Il Corriere di sabato 27 dicembre 2008 pubblica un articolo a firma di Giordano Castellani, su Saba e il terremoto di Messina. L'autore racconta che, sfogliando riviste e quotidiani del primo Novecento per un'edizione critica del "Canzoniere 1921" di Umberto Saba (pseudonimo di Umberto Poli), scopre, nel "Piccolo" di Trieste del 12 gennaio 1909, un sonetto dal titolo "Messina" di Umberto da Monreale (pseudonimo di U. Poli, poi, dal 1911, U. Saba), che, da allora, non è stato mai più ripubblicato e, di esso, non v'è traccia nemmeno nella critica, se si esclude una lettera di Saba a Giacomo Debenedetti del 1927.
Castellani giustamente ritiene che il rifiuto di Saba ad inserire il sonetto in raccolte successive sia stato dettato dal fatto che in esso "frasi e immagini sono convenzionali, da cartolina ." e che "il sonetto più che dal terremoto è ispirato dall'attenzione per la vita militare". Nel 1908 Saba, che come triestino italiano era tenuto al servizio di leva, aveva passato quattro mesi in fanteria a Salerno. Nell'addestramento militare, accanto a contadini analfabeti, aveva scoperto un' umanità che non conosceva. Nei Versi militari del 1908 i suoi compagni gli appaiono come cuccioli, «giovani cani» sempre pronti al gioco, alla danza grottesca, al lamento e al canto puerile. A questa serie di schizzi appartiene dunque l'immagine apparentemente solo patetica del bersagliere che culla il bimbo orfano.

Messina

Io non la vidi mai, che d'essa noto


n'era il nome e non più. Nel mio pensiero,


quanto vedevo immaginando il vero,


è quello che distrusse il terremoto.


Vedea uno stretto da varcarsi a nuoto;


di cupe frondi un dondolio leggero:


col porto di vocianti uomini nero,


sotto un meriggio eternalmente immoto,


biancheggiar la città, vasta aranciera.


ora veggo macerie, onde la fiamma


esce, o un lungo sottil braccio di cera.



Vagano cani ritornati fiere:


mentre al bimbo che piange e chiede mamma


canta la ninna-nanna un bersagliere .



Analisi del testo    

Nella prima quartina il poeta afferma di aver immaginato il vero a proposito del paesaggio di Messina, città a lui sconosciuta, ma ora tutto questo è stato distrutto dal terremoto.

Nella seconda quartina e nelle due terzine il poeta presenta ciò che è frutto della sua immaginazione: lo stretto "da varcarsi a nuoto" per sottolineare la vicinanza tra la Sicilia e la Calabria; il dondolio leggero delle fronde, movimento, forse, analogo a quello del terremoto; il porto con la presenza di uomini "vocianti"; la città-aranciera che biancheggia sotto un meriggio immoto.

A questa serie di immagini si contrappone la visione del presente: la fiamma tra le macerie; il braccio esangue che emerge dalle rovine; i cani-fiere, che vagano come se il carattere domestico fosse andato perso.

Il sonetto si chiude con una scena finale dove sono presenti un bimbo, che piange e chiede della mamma, evidentemente morta nel terremoto, e la figura inattesa del bersagliere-bàlia, che intenerisce il poeta.


LIVELLO FONICO E RITMICO

Essendo il verso un endecasillabo, l'ultimo accento ritmico cade sempre sulla decima sillaba; gli altri accenti ritmici cadono sulla 4^ e sulla 7^ sillaba e quindi si può dire che il ritmo è regolare. Inoltre si nota l'enjambement del v. 10 "la fiamma esce": la parola, restando isolata, si carica di un'atmosfera particolare.


LIVELLO METRICO

Versi. Endecasillabi;

strofe: due terzine e due quartine;

tipo di componimento: sonetto

tipo di rime: ABBA ABBA CDC CDC


LIVELLO STRUTTURALE

Struttura lineare: i temi all'interno del testo si susseguono in progressione ordinata


LIVELLO LESSICALE

Nel testo sono presenti alcune contrapposizioni:

temporale: presente/passato v. 5 "vedea" nella sua immaginazione e v. 10 "veggo" nella realtà terribile

colori: v. 7 "porto .. nero" v. 9 "biancheggiar la città"

Stile solenne per la presenza di inversioni e iperbati in un lessico apparentemente semplice


LIVELLO RETORICO

Inversioni:        v. 3 d'essa noto n'era il nome; v 5 vedea uno stretto

Iperbato:          v. 7 col porto di vocianti uomini nero

Metonimia:      v. 11 un lungo sottil braccio di cera



Seppur non di grande pregio letterario il "ritrovamento" del sonetto riveste sicuro interesse per i messinesi, che scoprono ancora una volta la grande eco che i fatti del terremoto del 1908 ebbero sui contemporanei di tutto il mondo, e ritrovano sprazzi di quella "memoria identitaria" che ai più appare ormai irrimediabilmente persa.













Salvatore Quasimodo

Al padre da La terra impareggiabile (1955-1958)


Nel testo, scritto in occasione dei novant'anni del padre Gaetano, Salvatore Quasimodo, vuole rendere un pubblico omaggio al padre, l'omaggio che non seppe o non volle fare in passato. Per dimostrare la sua grandezza, il poeta si sofferma sulla tragedia del 28 dicembre 1908, quando Messina fu distrutta dalla violenza congiunta del terremoto e del maremoto. Accanto a questi temi compare anche un'esaltazione della bellezza della sua terra siciliana che qui viene contrapposta all'ambiente soffocante e privo di natura della città di Milano (tema già espresso in Vento a Tindari, che compare nella prima raccolta poetica di Salvatore Quasimodo, Acque e terre (1920-1929)).

L'alto omaggio del poeta al padre si apre sul ricordo ancora doloroso del terremoto di Messina. Nei giorni successivi al sisma, il padre di Quasimodo venne inviato come capostazione nella città di Messina per ridare funzionalità alla rete ferroviaria. La famiglia alloggiò per lungo tempo in un carro merci che sostava su un binario morto della stazione, ridotta anch'essa in macerie. Nei ricordi del poeta la città distrutta, le famiglie dei superstiti ammucchiate sui carri merci, i morti sparsi sulle strade, la fame, la violenza, la malaria, i ladri sorpresi a rubare e fucilati dai soldati.


Dove sull'acque viola


era Messina, tra fili spezzati

e macerie tu vai lungo binari

e scambi col tuo berretto di gallo

isolano. Il terremoto ribolle

da due giorni, è dicembre d'uragani

e mare avvelenato. Le nostre notti cadono

nei carri merci e noi bestiame infantile

contiamo sogni polverosi con i morti

sfondati dai ferri, mordendo mandorle
e mele dissecate a ghirlanda. La scienza

del dolore mise verità e lame


nei giochi dei bassopiani di malaria

gialla e terzana gonfia di fango.


La tua pazienza

triste, delicata, ci rubò la paura,

fu lezione di giorni uniti alla morte

tradita, al vilipendio dei ladroni

presi fra i rottami e giustiziati al buio

dalla fucileria degli sbarchi, un conto

di numeri bassi che tornava esatto

concentrico, un bilancio di vita futura.



Il tuo berretto di sole andava su e giù

nel poco spazio che sempre ti hanno dato.

Anche a me misurarono ogni cosa,

e ho portato il tuo nome

un po' più in là dell'odio e dell'invidia.

Quel rosso del tuo capo era una mitria,

una corona con le ali d'aquila.

E ora nell'aquila dei tuoi novant'anni

ho voluto parlare con te, coi tuoi segnali
di partenza colorati dalla lanterna

notturna, e qui da una ruota

imperfetta del mondo,

su una piena di muri serrati,

lontano dai gelsomini d'Arabia

dove ancora tu sei, per dirti

ciò che non potevo un tempo - difficile affinità

i pensieri - per dirti, e non ci ascoltano solo

cicale del biviere, agavi lentischi,

come il campiere dice al suo padrone:

'Baciamu li mani'. Questo, non altro.


Oscuramente forte è la vita.


Analisi del testo

Il testo è formato da 3 parti di lunghezza diversa; non c'è una metrica regolare anche se c'è la presenza abbondante di endecasillabi.                                                    
Nella prima strofa il poeta ritorna con la memoria ai tempi del terremoto di Messina, uno degli avvenimenti più catastrofici perché al movimento della terra si accompagnò un maremoto, responsabile quest'ultimo della distruzione della città. Il senso della tragedia viene espresso dal verbo 'era' all'inizio di v.2 e dai fili spezzati e dalle macerie (vv.2-3), dall'espressione mare avvelenato di v.7, più avanti, ai vv.9 e 10, si legge l'enjambement: "morti sfondati dai ferri".

In questa catastrofe si muove sicura la figura del padre, una presenza paziente e delicata che cerca di aiutare a rimuovere le macerie, i morti e soprattutto a togliere la paura.



I fenomeni sismici


Il terremoto non è un fenomeno casuale e sporadico, infatti il numero dei sismi che si verifica in tutta la Terra raggiunge quasi il milione, sebbene solo qualche migliaio di essi è percepito dall'uomo e solo qualche decina tra questi è in grado di provocare seri danni alle costruzioni. Il fatto che i terremoti si verifichino continuamente nel tempo non implica che ovunque vi siano terremoti: infatti, possiamo individuare delle aree definite "sismicamente attive" ed altre zone invece "asismiche", in particolare nelle zone dove si verifica il terremoto possiamo individuare il cosiddetto ipocentro (o fuoco) del terremoto: da esso l'energia si propaga per onde sferiche che, pur indebolendosi con la distanza, attraversano tutta la Terra.

Solamente a seguito del terremoti di San Francisco del 1906 si è cominciato ad elaborare alcune teorie circa l'origine di questo fenomeno.

In particolare la rilevazione di misure geodetiche, effettuate prima e dopo questo terremoto, portarono Harry F. Reid a formulare l'ipotesi del rimbalzo elastico. Secondo tale teoria due blocchi contigui di crosta, inizialmente a riposo, in un primo momento (istante 1) sono sottoposti a sforzo e costretti a muoversi in direzioni opposte. In seguito le rocce si deformano elasticamente (istante 2) fino a che le loro tensioni non superano il punto di rottura; si forma a questo punto una faglia (istante 3) lungo la quale i due blocchi cominciano a scivolare e a raggiungere una posizione di equilibrio: proprio in questo momento l'energia elastica accumulata durante la deformazione si libera, in parte sotto forma di calore per l'attrito lungo la superficie di faglia, in parte sotto forma di violente vibrazioni, che si propagano come onde sismiche verso tutte le direzioni a parte dall'ipocentro. Quindi possiamo riassumere l'intero processo come un ciclo sismico: pre-sismico (prima della rottura) con la deformazione elastica e quello post-sismico (dopo il sisma) quando l'area colpita si avvia verso un nuovo equilibrio attraverso scosse successive.

I movimenti che si verificano nell'ipocentro producono differenti tipi di deformazioni, cui corrispondono differenti tipi di onde: il posto in superficie dove arriva il maggior numero di onde è l'epicentro che si trova lungo la verticale dell'ipocentro ed è il punto in superficie più vicino ad esso.

Possiamo suddividere le onde in due gruppi: il primo comprende le onde di volume o interne mentre il secondo gruppo comprende le onde superficiali .

Nel primo gruppo possiamo individuare le onde longitudinali (o di compressione) e le onde trasversali (o di taglio). Le prime sono quelle al cui passaggio le particelle oscillano avanti ed indietro nella direzione di propagazione dell'onda stessa (la roccia subisce rapide variazioni di volume); le seconde invece sono quelle al cui passaggio le particelle di roccia compiono delle oscillazioni perpendicolari alla direzione di propagazione.

Per quanto riguarda invece le onde superficiali possiamo distinguere due gruppi il primo che comprende le onde di Rayleigh (o anche onde R) a causa delle quali le particelle compiono orbite ellittiche in un piano verticale lungo la direzione di propagazione (come avviene per le onde in acqua); mentre il secondo gruppo è costituito dalle onde Love (o anche onde L) ovvero quelle onde che trasmettono un oscillazione trasversale alla direzione di propagazione (come le onde S) ma solo nel piano orizzontale.

Questo movimento della terra può essere misurato con un sismografo il quale permette la registrazione del movimento sismico grazie al sismogramma. Grazie allo studio di tali grafici è possibile dedurre molte informazioni come ad esempio la potenza, la durata, la posizione dell'epicentro del terremoto, la profondità dell'ipocentro e tanto altro ancora.

Un primo strumento per valutare la forza di un terremoto è l'analisi dell'intensità del terremoto che si basa solamente sullo studio degli effetti del terremoto sulle costruzioni artificiali. La più famosa scala usata è quella MCS (Mercalli-Cancani-Sieberg) per mezzo della quale è possibile dedurre delle curve chiuse, dette isosisme, la più interna della quale racchiude l'area dell'epicentro.

Un altro strumento per la valutazione di un terremoto è lo studio della magnitudo, ovvero si è voluto esprimere per mezzo di valori (espressi con numeri interi) la forza di un terremoto, indipendentemente dagli effetti con cui si manifesta in superficie. Questa scala, in base alla quale si confrontano i valori ottenuti dai sismogrammi, è detta Richter (dal nome del sismologo che la propose) ed è di tipo logaritmico: infatti ad ogni aumento di una unità nella magnitudo corrisponde un aumento di fattore 10 nell'ampiezza del movimento del terremoto ed ad una liberazione di energia di circa 30 volte maggiore.

Grazie allo studio delle onde sismiche (e dei relativi sismogrammi) si è riusciti a descrivere la struttura interna della Terra: infatti le onde, che come detto sono in grado di attraversare tutto il globo, subiscono delle variazioni di direzione e di velocità a seconda della profondità e della tipologia di roccia attraversata.

Per mezzo di questi studi si è riuscito ad identificare 3 discontinuità: la prima è quella di Mohorovicic (detta anche più semplicemente Moho) che segna la separazione tra le rocce che costituiscono il mantello e la crosta; quella di Gutemberg che si trova a circa 2900 km e che costituisce il limite tra il mantello ed il nucleo esterno, scoperta grazie all'individuazione di una zona d'ombra dove non giungono le onde sismiche; infine quella di Lehemann che identifica il limite tra il nucleo esterno e quello interno solido a circa 5170 km.

I danni causati dai terremoti sono innumerevoli soprattutto se ci riferiamo al numero di vittime che riescono a provocare ogni anno, pertanto si cerca sempre di elaborare delle previsioni (più o meno precise). Possiamo identificare a proposito due tipi di previsione: una è quella deterministica mentre l'altra è detta statistica.

La prima tenta di prevedere un terremoto attraverso l'esame dei fenomeni precursori: grazie al modello del rimbalzo elastico, si è giunti alla scoperta di un fenomeno detto dilatanza che provoca, nelle caratteristiche fisiche e nel comportamento delle rocce, alcune anomalie, che possono essere usate come fenomeni precursori di un terremoto. Tra questi possiamo individuare la variazione della velocità nella propagazione delle onde P, sensibili sollevamenti di ampie aree e l'aumento del gas radon disciolto nelle falde o che si libera in superficie nel suolo.

In particolare quest'ultimo è oggetto di studi dal 1966 quando in occasione del disastroso terremoto di Tashkent in Uzbekistan, i livelli di gas nell'acqua dei pozzi salirono bruscamente.

Purtroppo sebbene sia vero che, alcune volte, il radon anticipa devastanti eventi sismici si può anche affermare che altre volte a un elevatissimo picco di "emissione" del Radon dal sottosuolo non è poi seguito un terremoto, e che ci sono stati anche molti terremoti distruttivi senza che fossero anticipati da questo tipo di segnale precursore.

Un altro tipo di previsione è quella statistica, in questo caso invece si studia la distribuzione geografica delle aree sismicamente attive e sulla loro "storia sismica" la quale dovrebbe avere caratteristiche simili nel tempo.

Pertanto si è riusciti ad elaborare moltissimi cataloghi sismici che offrono uno strumento molto utile nella previsione dei terremoti. Un esempio è sicuramente il recente terremoto dell'Abruzzo il quale si era già previsto nel lontano 1997 come conferma un articolo del 9 Ottobre 1997 nel quale il direttore dell'osservatorio dell'Abruzzo, attraverso lo studio della storia sismica della regione ne aveva previsto l'arrivo entro il 2010 con una percentuale di probabilità del 70%!

Quindi sebbene non abbiamo strumenti perfetti per la previsione dei terremoti, abbiamo il dovere di migliorare sempre più le nostre conoscenze per riuscire un giorno a prevedere i fenomeno in quanto tutt'ora affermare che i terremoti non si possono prevedere è assolutamente corretto e preciso.
















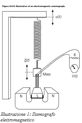
Il sismografo elettromagnetico


I complessi e apparentemente inesplicabili movimenti della terra possono essere analizzati attraverso opportuni strumenti. Il più importante tra questi è sicuramente il sismografo; questo è uno strumento prezioso, poiché consente di analizzare il groviglio di onde che raggiungono la superficie nel breve tempo che dura un terremoto. Un sismografo, in generale, si basa sull'inerzia di una massa sospesa, che tende a rimanere immobile anche quando il supporto inizia a muoversi insieme al suolo per il manifestarsi di una vibrazione, trasformando il complesso movimento del suolo durante un terremoto in una registrazione permanente.

In ogni stazione sismica sono contemporaneamente in funzione tre sismografi: uno in grado di muoversi solo lungo la verticale (per cui è sensibile solo alla parte di movimenti del suolo verso l'alto o verso il verso il basso); gli altri due liberi di muoversi solo sul piano orizzontale, lungo direzioni tra loro perpendicolari (in genere, Nord-Sud ed Est-Ovest) per cui sono sensibili solo alla parte del movimento del suolo lungo tali direzioni.

Possiamo distinguere due tipologie di sismografi: uno è quello "classico" ovvero il sismografo meccanico, l'altro invece è il sismografo elettromagnetico.

Il principio fisico del sismografo elettromagnetico è identico a quello del tradizionale sismografo meccanico: infatti è sempre presente una massa che ha la possibilità di oscillare secondo le direzioni prima citate. In questo caso al posto della solita massa è posta una bobina immersa in un campo magnetico generato da un magnete permanente fissato al telaio.

Questo strumento si basa in particolare sulla legge di Faraday che enuncia che la forza elettromotrice indotta in un circuito chiuso da un campo magnetico è proporzionale alla variazione del flusso magnetico di tale campo che attraversa l'area abbracciata dal circuito nell'unità di tempo.

Questa f.e.m. prodotta dal movimento relativo tra bobina e magnete può essere elevata da opportuni sistemi di amplificazione elettronica ed infine facilmente registrata in forma digitale o su nastro magnetico.

Inoltre se si assembla il sismografo in modo che si faccia scorrere nella bobina la forza elettromotrice, la quale si oppone al moto della bobina stessa rispetto al magnete secondo la legge di Lenz ("Una corrente indotta scorre sempre nel verso che si oppone alla variazione che l'ha causata") , è possibile possibile portare il sistema oscillante esattamente allo smorzamento critico: infatti si viene a creare una forza che si oppone al moto della bobina stessa rispetto il magnete (seconda legge elementare di Laplace)


dF = IdL x B


I vantaggi derivanti dall'utilizzo dei sismografi elettromagnetici, rispetto quelli meccanici, sono molteplici. Il primo è sicuramente la maggior precisione del primo ma anche la semplicità di esprimere il movimento della massa in un segnale facilmente misurabile. Ma il più importante limite di dei sismografi meccanici è infatti il fatto che il principio di inerzia può essere applicato alla massa del pendolo solo per intervalli estremamente brevi: infatti quando la massa è sottoposta ad una forza, resta ferma solo per pochi istanti dopo i quali acquista un certo movimento. In questo caso il sismografo si comporta come un pendolo, quindi il moto proprio del pendolo-sismografo costituisce un elemento di disturbo per quanto riguarda la registrazione.

Questo invece non si verifica in quelli elettromagnetici dove è appunto presente, come detto sopra, un sistema per smorzare efficacemente il pendolo bloccandolo dopo ogni oscillazione completa. Tale meccanismo ha lo scopo di fermare il pendolo al termine di ogni impulso in modo tale che, per poter continuare ad oscillare, devono essere presenti nuovi impulsi.

Bibliografia


Gli effetti del terremoto

I tipi di terremoto

Valenti - De Vivo - Scarpa - Filipponne "Textus" - Ed. La Nuova Italia

dalle Naturales Questiones - Liber VI - di Seneca


Terremoto orribile accaduto in Napoli nel 1688

di Giacomo Antonio Lubrano

tratto da "Scintille Poetiche"

Riccardo Pazzaglia Storia e Antologia della letteratura italiana, vol. 2


Messina

di Umberto Saba

https://paoloaccademico.podomatic.com/entry/2009-05-09T13_51_49-07_00


Al padre

di Salvatore Quasimodo

tratto da: "La terra Impareggiabile"

https://www.frasi.net/autore.asp?autore=Salvatore%20Quasimodo


I fenomeni sismici

Elvidio Lupia Palmieri - Maurizio Parotto "Geologia dei pianeti . Il clima che cambia" Ed. Zanichelli

Elvidio Lupia Palmieri - Maurizio Parotto " La Terra nel tempo e nello spazio" Ed. Zanichelli


Il sismografo elettromagnetico

James S. Walker "Fisica" Ed. Zanichelli

Giovanni Romeo - Thomas Braun APPUNTI DI SISMOMETRIA

materiale ottenuto: dalla Prof.ssa Tina Nunziata (Professoressa di Geofisica - Dipartimento Geofisica e Vulcanologia - Università Federico II di Napoli);

dal Prof. Alfredo Mazzotti (Professore di Geofisica Applicata - Dipartimento di Scienze della Terra - Università di Pisa);

dal Dott. Giovanni Costa (Ricercatore confermato - Docente di sismometria -Dipartimento Scienza della Terra - Università di Trieste)


Scienze Geologiche per le Risorse l'Ambiente e il Territorio - Università del Sannio

Sismometro meccanico - - Risposta in ampiezza e fase - Sismometro elettromagnetico - Accelerometro (lezione 5 risposta sismica locale)


Scarica gratis Tesi di maturita - Vivere con il terremoto, nel passato e ai giorni nostri
Appunti su: https:wwwappuntimaniacomsuperiorigeografiatesi-di-maturita-vivere-con-il23php, tesina maturita terremoto abruzzo, appunti liceo terremoti, sismografo elettromagnetico foto,



Scarica 100% gratis e , tesine, riassunti



Registrati ora

Password dimenticata?
  • Appunti superiori
  • In questa sezione troverai sunti esame, dispense, appunti universitari, esercitazioni e tesi, suddivisi per le principali facoltà.
  • Università
  • Appunti, dispense, esercitazioni, riassunti direttamente dalla tua aula Universitaria
  • all'Informatica
  • Introduzione all'Informatica, Information and Comunication Tecnology, componenti del computer, software, hardware ...

Appunti Meteorologia Meteorologia
Tesine Agricoltura agraria Agricoltura agraria
Lezioni Idrologia Idrologia